Apple’s Foldable iPhone: Rumors, Patents, and Potential Features
- Technology Explained
- August 24, 2023
- No Comment
- 37
Apple’s Foldable iPhone Patents
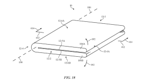
One fact we can confirm is that Apple holds several patents related to foldable iPhones. These patents include concepts like a foldable iPhone with an “exposed display region,” which essentially means a display on the outside of the device.
These patents detail various designs, including one from 2016 depicting an iPhone that folds in half horizontally using a flexible OLED display and metal hinge. This allows both halves of the display to remain accessible when the phone is shut. Another patent shows magnetically connected displays that can be used jointly, indicating Apple’s interest in both clamshell and larger foldable devices.
Additionally, Apple has patents for protective screen layers that resist cracking, emphasizing their commitment to durability.
It’s worth noting that while these patents are promising, they don’t guarantee a product release. However, multiple sources have reported prototype testing, suggesting that Apple is actively exploring foldable iPhone options.

The Size of a Foldable iPhone
According to analyst Ming-Chi Kuo, known for his Apple-related predictions, the foldable iPhone could feature an eight-inch display, with a nine-inch display also in testing. An eight-inch display would rival the current iPad mini and Samsung’s Galaxy Fold, suggesting Apple is initially targeting the foldable tablet market.
The absence of leaks regarding the clamshell-style flip phone’s size implies it may come later in Apple’s foldable lineup.

Features to Expect
Apple’s patents hint at several features for the foldable iPhone. It’s likely to sport an OLED display, in line with Apple’s display technology trends. Considering Apple’s recent adoption of 120Hz displays, this feature could carry over to the foldable iPhone for smoother visuals.
As for the camera, while specific leaks are scarce, it’s reasonable to expect a premium foldable iPhone to feature a setup similar to current Pro models, including three cameras and a LiDAR sensor.
Touch ID, a technology rumored to return to iPhones, could find a place in the foldable version, especially if the folding display complicates Face ID implementation.

Pricing Considerations
Determining the price of a foldable iPhone is challenging, given the many variables involved. Factors such as the release date, initial size options, and competition’s pricing will all influence Apple’s decision.
Current foldable devices, like the Galaxy Fold, often come with premium price tags, with the book form-factor being the most expensive due to its large screen. A clamshell design might be more affordable, similar to the Galaxy Z Flip, which is relatively cheaper.
Considering Apple’s tendency to price its flagship devices competitively with the market, we can expect the foldable iPhone to align with the competition’s pricing.

When Will We See a Foldable iPhone?
Predicting the release date is a bit of a puzzle. Initial predictions for a 2023 release seem unlikely, with reports pointing to 2024 or even 2025. Display analyst Ross Young suggests a 2024 release, while Ming-Chi Kuo’s estimate leans towards 2025.
Apple is playing catch-up in the foldable market, and a further delay could put them even further behind. However, Apple typically introduces significant design changes every few years, so a foldable iPhone might coincide with their next major form factor refresh in 2024 or 2025.

The Potential Impact
Apple has a history of making emerging technologies mainstream. While foldable phones are gaining traction, they’re not yet everyday devices. With Apple’s entry into the foldable market, these innovative phones could become more commonplace.
As of now, foldable phones account for a tiny fraction of the smartphone market. Apple’s foray into foldables could potentially boost the adoption of this technology, but several challenges remain before foldable phones become truly mainstream.
In conclusion, while Apple’s foldable iPhone remains shrouded in rumors, patents, and speculation, it’s clear that Apple is actively exploring this technology. Whether it becomes a reality and when it will hit the market are questions that only time will answer.